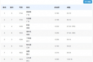
体育资讯11月17日讯 全运会田径女子400米栏决赛,莫家蝶以55秒19的成绩夺得金牌,孔莹蓥获得银牌,欧莹获得铜牌。
女子400米栏决赛成绩详情如下:
1 莫家蝶 55.19
2 孔莹蓥 56.10
3 欧莹 57.29(PB)
4 邹亦凡 57.46(SB)
5 丁依蕊 59.14
6 陆长薇 59.22
7 刘薇 59.34
8 王久香 1:02.16
上一篇: 包揽仰泳3金!徐嘉余24秒40夺男子50米仰泳金牌,成就本届四金王
下一篇: 5金18岁张展硕夺男子1500米自由泳金牌,横扫5枚自由泳金牌
比赛中
11-17 19:00
国际友谊赛
巴林
0
:
索马里
观看比赛:
高清线路
更多
女足亚冠
武汉车谷江大女足
1
纳萨夫女足
伯恩茅斯U21
2
日本U23
乌克甲
利维贝雷
4
沃洛奇斯克
菲MPBL
阿布拉韦弗斯
邦阿西楠省热浪
英超阿森纳vs水晶宫直播
哥斯达黎加U17洪都拉斯U17今日赛事
云南玉昆vs天津津门虎直播
国际友谊赛马耳他U19vs白俄罗斯U19直播
MIO草津紫湖润梅尔青森今日赛事
足球友谊赛特温特vs沙尔克04直播
大连英博武汉三镇今日赛事
国际友谊赛波兰U16vs墨西哥U16直播